产品简介:八身分一体式形象站选取八身分一体式传感器,可对风快、风向、温度、湿度、气压、pm2.5、pm10、噪声等形象身分进行实时观测,可实现户表形象参数24幼时陆续在线监测
一、产品简介
JD-CQX8超声波形象站是一款高度集成、低功耗、可急剧装置、便于野表监测使用的高精度自动形象观测设备。
该设备免调试,可急剧安插,宽泛使用于形象、农业、林业、环保、海洋、机场、港口、科学调查、校园教育等领域。
与传统的超声波形象站相比,我司产品克服了对高精度计时器的需要,预防了因传感器启动延时、解调电路延时、温度变动而造成的丈量禁绝问题。
该设备创新性的选取八身分一体式传感器,可对风快、风向、温度、湿度、气压、pm2.5、pm10、噪声等形象身分进行实时观测,可实现户表形象参数24幼时陆续在线监测,通过数字量通讯接口将八项参数一次性输出给用户。
二、产品特点
1、顶盖暗藏式超声波探头,预防雨雪堆积的滋扰,预防天然风遮挡
2、道理为发射陆续变频超声波信号,通过丈量相对相位来检测风快风向
3、风快、风向、温度、湿度、气压、pm2.5、pm10、噪声八身分一体式传感器
4、标配GPRS;可选配RJ45、以太网、4-20ma、Lora透传、4G透传、蓝牙、485转USB等多种传输方式
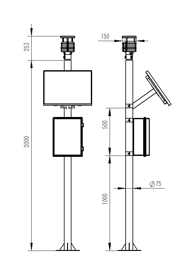
5、两米碳钢支架,顶部无需法兰盘可直接套接传感器
6、传感器表壳选取进口ASA材质,更有效匹敌盐雾等环境,防护等级达到IP65以上
三、技术参数
1、风快:丈量道理超声波,0~60m/s(±0.1m/s)分辨率0.01m/s;
2、风向:丈量道理超声波,0~360°(±2°);分辨率:1°;
3、空气温度:丈量道理二极管结电压法,-40-80℃(±0.3℃),分辨率0.01℃;
4、空气湿度:丈量道理电容式,0-100%RH(±3%RH),分辨率:0.1%RH;
5、大气压力:丈量道理压阻式,300-1100hpa(±0.25%),分辨率0.1hpa;
6、PM2.5:丈量道理光散射,0-1000ug/m3(±10%)
7、PM10:丈量道理光散射,0-1000ug/m3(±10%)
8、噪声:丈量道理电容式,30-120dB(±1.5dB)
9、采集器供电接口:GX-12-3P插头,输入电压5V,带RS232输出Json数据体式,采集器供电:DC5V±0.5V峰值电流1A,
10、传感器modbus、485接口:GX-12-4P插头,输出供电电压12V/1A,设备配置接口:GX-12-4P插头,输入电压5V
11、太阳能供电、配置铅酸电池,可选配30W 20AH/50W 40AH/100W 100AH.充电节造器:150W,MPPT自动功率点跟踪,效能提高20%
12、数据上传距离:1分钟-1000分钟可调
13、7寸安卓触屏,屏幕尺寸:1024*600 RGB LCD
14、整机获得国度形象计量站校准证书
16、出产企业拥有ISO质量治理系统、环境治理系统和职业健全治理系统认证
18、出产企业为3A级信誉企业
四、产品尺寸图

五、产品结构图

六、上位机软件介绍
1、PC单机版数据接管、存储、查看、分析软件
2、支持串口数据接管、处置、展示
3、支持json字符串、modbus485等通讯方式
4、可自设置存储功夫,modbus485采集模式下可自设置采集功夫
5、支持自主增长、删除、批改监测参数的和谈、名称、图标等
6、支持数据后处置职能
7、支持表置运行javascript剧本
七、安卓APP介绍
1、安卓单机版数据接管、存储、查看、分析软件
2、支持蓝牙数据接管
3、手机休眠后软件后盾接管、处置
4、json数据自动增长设备,modbus设备支持扫码增长设备
5、支持汗青数据查看、分析、导出表格,支持曲线展示、单数据点查看。
6、支持数据后处置职能
7、支持表置运行javascript剧本
八、云平台介绍
1、CS架构软件平台,支持手机、PC浏览器直接观测、无需额表装置软件。
2、支持多帐号、多设备登录
3、支持实时数据展示与汗青数据展示仪表板
4、云服务器、云数据存储,不变靠得住,易于扩大,负载平衡。
5、支持短信报警及阈值设置
6、支持地图显示、查看设备信息。
7、支持数据曲线分析
8、支持数据导出表格大局
9、支持数据转发,HJ-212和谈,TCP转发,http和谈等。
10、支持数据后处置职能
11、支持表置运行javascript剧本